ExcludingTax
IT
Cerca
image/jpeg

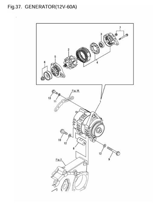
4JH4E (53Hp) 0CR10-M56901-GEN GENERATOR(12V-60A)

Cerca

Impostazioni di ricerca

Mostra prodotti associati



Disponibile
Ordinabile

ARTICOLO

PREZZO

QT.A

1

ALTERNATORE 80A.12V. =12947077200

€1091,59

i

3

CUSCINETTO 12961277710

€48,71

i

4

STATORE +REGOLATORE 60 Amp. 12827177720

€898,44

i

6

PULLEY

€146,96

i

8

Usare codice: 12967077350

€36,92

i

8

CINGHIA 3HM/2GM20/3GM30 - REMF6310 v.n.

€13,58

i

9

Usare codice: 12967077370

€2,21

i

9

BULLONE 10X70 129695-77371

€2,69

i

10

Usare codice: 12967077370

€2,70

i

10

BULLONE 10X30

€4,31

i

11

RONDELLA vedi note

€1,14

i

12

RONDELLA

€1,14

i

13

BULLONE

€1,93

i